براءة اختراع جديدة لأبل عبارة عن جهاز مثبت بالأصابع ومزود بمجموعة من أجهزة الاستشعار وردود الفعل اللمسية، لاستخدامه كجهاز تحكم لنظارة الواقع المعزز أو الافتراضي، وكذلك التحكم لاسلكياً في أجهزة الكمبيوتر المختلفة، تعرف على براءة الاختراع تلك وكيفية عملها.

يبدو أن تسجيل براءة الاختراع تتماشى مع بعض الشائعات التي تتحدث عن كيفية التحكم في نظارة الواقع المعزز التي كثر الحديث عنها في الآونة الأخيرة. وذكر تقرير حديث من The Information أن أبل تطور طرقًا متعددة للتحكم في نظارة الواقع المعزز الخاصة بها، بما في ذلك “جهاز يشبه خاتم الخياطة اليدوية المعدني الذي يتم ارتداؤه على إصبع الخياط”.

ووفقا لبراءة الاختراع، تقر شركة أبل بأن بعض تطبيقات جهاز التحكم هذا القابل للارتداء يمكن أن تشبه قفازًا به مستشعرات لاكتشاف حركات اليد، لكنها تقول إن الجهاز المثبت بالإصبع له عدد من المزايا، مثل الاحتفاظ بالقدرة على الشعور بالأشياء في جسم المستخدم، هذا بالإضافة إلى أنه محكم ومريح في الاستخدام.

من حيث التصميم، يحتوي الجهاز على جدارين جانبيين صغيرين للإمساك بالإصبع قد تكون مكونا من مادة قابلة للطي مثل المعدن، وبالتالي يمكنه استيعاب مجموعة من أحجام الأصابع المختلفة، وتشير براءة الاختراع أيضًا إلى أنه يمكن أن يصنع من مواد أخرى مثل القماش أو البوليمر.
يتم ارتداء جهاز أبل وتثبيته أعلى أصابع المستخدم ويترك أطراف الأصابع مكشوفة بحيث يمكنه لمس الأسطح، وتحسس الكائنات الحقيقية من حوله بدقة وبالتالي تعزيز حساسية المستخدم للبيئة التي يتم فيها استخدام الجهاز مما يمكنه من اكتشاف عيوب السطح الدقيقة والتعامل مع تفاصيل أخرى أكثر حساسية، لا يمكن للأصابع المغطاة بالكامل الوصول إليها.
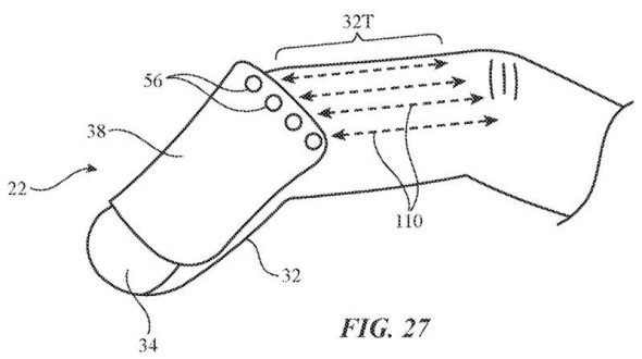
يحتوي الجهاز على مستشعرات الضغط المقوى أو ما يعرف بـ 3D Touch ومقاييس التسارع والجيروسكوبات وأجهزة الاستشعار البصرية وأجهزة استشعار اللمس وأضواء مؤشر الحالة والمزيد. تستخدم هذه المستشعرات تقنيات تمكنها من التأكد بدقة من الطريقة التي يحرك بها المستخدم أصابعه ويتفاعل مع الأسطح. يقال إن النظام دقيق للغاية بحيث يمكنه اكتشاف حساسية ضغط المستخدم على السطح والاتجاهات الدقيق لهذا الضغط.
قد يجمع هذا الجهاز مدخلات متعددة مثل الضغط بالإصبع، وحركة الإصبع الجانبية، والنقر بالإصبع باستخدام المستشعرات والأمر نفسه ينطبق على المخرجات اللمسية أيضا.
وبالنسبة لردود الفعل اللمسية قد توفر للمستخدم إحساسًا ويكأنه ينقر على لوحة مفاتيح فعلية أو أي جهاز إدخال آخر عندما ينقر على سطح مستوٍ صلب مثل سطح الطاولة، وهذه الخاصية بالطبع ستكون متكاملة مع جهاز الواقع الواقع المعزز المثبت على الرأس الذي بدوره ينشيء بيئة افتراضية يمكن للمستخدم التعامل معها.

وقد يتسع الأمر بتوفير إدخالات أخرى مثلا عصا تحكم افتراضية للألعاب فقط من خلال تحريك الاصبع في أي اتجاه.

تقترح أبل أن الجهاز قد يتم ارتداؤه على إصبع واحد أو أكثر، أو أن يتم ارتداء عدة أجهزة مثبتة بالأصابع في يد واحدة حتى يتم التكامل بدقة.
شأن براءة الاختراع هذه كغيرها من براءات الاختراع قد ترى النور في أي وقت، وقد تستخدمها أبل مستقبلاً وقد لا تستخدمها أبداً.